阀门型号编制说明
| D | 6 | S | 7 | 3 | H | -16 | C |
| 阀门类型 | 动作方式 | 操控 | 连接方式 | 阀门结构 | 密封材料 | 公称压力 | 阀体材质 |
| D:蝶阀 | 6:气动 | S:手轮 | 7:对夹 | 3:三偏心 | H:不锈钢合金 | 16:1.6MPa | C:碳钢 |
| 无:省略 | 4:法兰 | F:聚四氟乙烯 | 10:1.0MPa | P:不锈钢304 | |||
| 25:2.5MPa | R:不锈钢316 |
■硬密封气动蝶阀 产品特点
1、三偏心多层次硬密封气动蝶阀,流体阻力小,密封面受冲击小,不改变介质流向,不扰流,压降小,启闭力矩小,适用压力温度范围广。
2、硬密封气动蝶阀采用三偏心斜锥面密封,利用蝶板摆动接触密封、密封启闭无磨损,关闭时具有越关越紧,密封性能越可靠,开启确保密封面完全脱离接触,确保密封面不损伤。
3、当阀门开启时,蝶板与阀座在关闭时瞬间接触,利用蝶板偏心1、偏心2迅速脱离阀座,降低了密封副的磨损,磨擦力矩小,开启灵活。偏心锥面3使阀门在开启或关闭时蝶板能通过阀座内孔,实现接触密封。另外,锥形蝶板的旋转半径大于密封副接触位置的旋转半径,故硬密封气动蝶阀蝶板在阀门关闭时将出现越关越紧,能够实现自锁,防止蝶板过位。
4、密封面选择D507Mo和钴基硬质合金等材料制作,具有耐腐蚀、耐高温、使用寿命长的特点,克服了高温使用时热膨胀阀门易泄漏的缺点。
5、蝶板密封圈采用软硬层叠式金属片,它具有弹性密封和软硬多层次密封兼容的双重特点,无论在抗腐蚀、耐高温的情况下,均有良好的密封性。
6、安装双作用气动执行器和二位五通电磁换向阀,可以控制阀门的开和关;安装单作用气动执行器和二位三通电磁换向阀,不但可以控制阀门的开和关,而且能在气源发生故障时,阀门会自动停在预设的开或关的安全位置。
■硬密封气动蝶阀 主要技术参数
| 公称通径 | DN(mm) | 50~1200 | ||||
| 公称压力 | PN(MPa) | 1.6 | 2.5 | |||
| 试验压力(MPa) | 强度试验 | 2.4 | 3.75 | |||
| 密封试验(水) | 1.76 | 2.75 | ||||
密封试验(气) | 0.6 | |||||
| 泄 漏 量 | A级(零泄漏) D级(1×DNmm3/s) | |||||
| 连接方式 | 对夹、法兰 | |||||
| 设计标准 | GB/T12238-1989 JB/T 8527-97 | |||||
| 结 构 长 度 | GB/T12221-1989 | |||||
| 法兰连接尺寸 | JB/T74-90 GB9113.1-9113.26 | |||||
| 压 力 试 验 | GB/T 13927 | |||||
| 适用介质 | 空气、水、蒸气、煤气、油品以及酸、碱、盐 带有弱腐蚀性介质 | |||||
| 适用温度 | -29℃—425℃(碳钢),-40℃—550℃(不锈钢、铬钼钢) | |||||
| 驱动方式 | 气 动 | |||||
| 气动执行器 | ZTA双作用、ZTA单作用(弹簧复位)、AW型 | |||||
| 控制形式 | 开关型/模拟量调节型 | |||||
| 可选控制附件 | 电磁换向阀 | AC220V/DC24V | ||||
| 单作用 | 二位三通 | |||||
| 双作用 | 二位五通 | 单电控 | ||||
| 双电控 | ||||||
| 限位开关 | 机械式 | |||||
| 感应式 | ||||||
| 电气定位器 | 输入:4-20mA | |||||
| 输入/输出:4-20mA | ||||||
手操机构 | ||||||
气源处理三联件 | ||||||
■硬密封气动蝶阀 控制附件功能

■硬密封气动蝶阀 主要零件材质
| 零件名称 | 材 料 |
| 气动执行器 | ZTA型:铝合金 / AW型:铸铁 |
| 阀 体 | 铸钢、不锈钢、铬钼钢、合金钢等特殊材料 |
| 蝶 板 | 铸钢、不锈钢、铬钼钢、合金钢等特殊材料 |
| 密 封 圈 | 多层次不锈钢合金、PTFE |
| 阀 杆 | 2Cr13、1Cr13不锈钢、铬钼钢、17-4PH |
| 填 料 | 柔性石墨 |

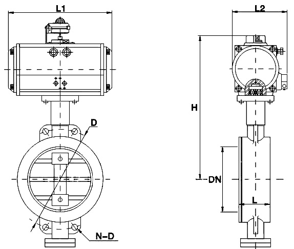
■硬密封气动蝶阀 外形尺寸 单位:mm
| DN | L | H | D | D1 | n-d | L1 | L2 | 气动执行器 (双作用) | |
| 对夹 | 法兰 | ||||||||
| 50 | 43 | 108 | 268 | 165 | 125 | 4-18 | 95 | 265 | ZTA75 |
| 65 | 46 | 112 | 294 | 185 | 145 | 4-18 | 103 | 285 | ZTA83 |
| 80 | 49 | 114 | 372 | 200 | 160 | 8-18 | 108 | 307 | ZTA92 |
| 100 | 56 | 127 | 445 | 220 | 180 | 8-18 | 120 | 341 | ZTA105 |
| 125 | 64 | 140 | 476 | 250 | 210 | 8-18 | 142 | 380 | ZTA125 |
| 150 | 70 | 140 | 528 | 285 | 240 | 8-23 | 152 | 428 | ZTA140 |
| 200 | 71 | 152 | 638 | 340 | 295 | 12-23 | 174 | 498 | ZTA160 |
| 250 | 76 | 165 | 714 | 405 | 355 | 12-28 | 206 | 592 | ZTA190 |
| 300 | 83 | 178 | 872 | 460 | 410 | 12-28 | 226 | 657 | ZTA210 |
| 350 | 92 | 190 | 986 | 520 | 470 | 16-28 | 260 | 721 | ZTA240 |
| 400 | 102 | 216 | 1045 | 580 | 525 | 16-31 | 294 | 930 | ZTA270 |
| 450 | 114 | 222 | 1090 | 640 | 585 | 20-31 | 830 | 390 | ZTA300 |
| 500 | 127 | 229 | 1120 | 715 | 650 | 20-34 | 1162 | 376 | AW25 |
| 600 | 154 | 267 | 1215 | 840 | 770 | 20-36 | 1380 | 459 | AW28 |
大于DN600的气动蝶阀尺寸,请与销售部联系!
材料整理中. . .

