型号编制说明
| PZ | 6 | 7 | 3 | X | -10 | C | 
| 阀门类型 | 动作方式 | 连接形式 | 阀门结构 | 密封材料 | 公称压力 | 阀体材质 | 
| PZ:刀闸阀 | 6:气动 | 7:对夹 | 3:平行单闸板 | X:EPDM | 10:1.0MPa | C:WCB | 
| 4:法兰 | F:PTFE | 16:1.6MPa | P:CF8 | |||
| 5:凸耳 | H:不锈钢合金 | R:CF8M | ||||
| Y:硬质合金 | PL:CF3 | |||||
| W:不锈钢本体 | RL:CF3M | 
■气动刀闸阀 概述
气动刀闸阀—又称刀型闸阀、刀型浆液阀。从八十年代进入我国,在不到二十年的时间里,其使用范围从普通领域扩展到了更为广阔的各行各业。从矿山电厂的选煤、排矸、排渣,发展到了城市的污水处理,从一般的工业管道发展到了食品、卫生、医药等专业管道系统。超薄型的刀闸阀以其体积小、流阻小、重量轻、易安装、易拆卸等优点彻底解决了普通闸阀、平板闸阀、截止阀、调节阀、蝶阀等类阀门的流阻大、质量大、安装难、占地面积大等得疑难问题。气动刀闸阀出现后,大量的通用切断类阀门和调节阀门已被之取代。
我公司的PZ型气动刀闸阀吸取了国内外先进技术和结构优点,排除了其他厂家所产刀闸阀在使用中存在的不足,是一种具有轻型、结构简单小巧、密封性能可靠、使用寿命长、具有切断介质等优点,其密封原理是通过闸板在关闭到底时,闸板斜切面碰到阀体上的锲块使得闸板紧靠密封面起到密封效果,并且闸板底部的斜切面具有切断介质的功能,使得阀门不易受介质的堵塞卡阻。其结构可以做成硬密封、软密封,可以根据客户对密封要求选型。
因采用刀型闸板,具有良好的剪切作用,最适宜于浆料、粉粒料、纤维等难以控制的流体,广泛应用于造纸、石化、矿山、排水、食品等行业。具有多种阀座可供选择,并且可依据现场控制需求,配备电动或气动执行器,实现阀门的自动化操作。
■气动刀闸阀 产品特点
1、阀体采用整体式设计,流体阻力小,操作灵活方便。 
2、螺杆传动采用双平面轴承设计,使得传动摩擦力大大减小,方便阀门的开启关闭。 
3、刀闸阀的密封阀座采用活动式密封,且采用O型圈预紧提供预紧力使密封阀座紧贴阀板,泄漏量大大减少,对在长期使用中密封副的磨损有自动补偿功能,提高阀门的使用寿命。 
4、固定导向爪、无凹槽设计,不易引起介质积存和卡阻。 
5、阀座可根据介质和工矿的需要,选金属硬密封或软密封:闸板采用表面镀硬铬或离子氮化处理,使闸板更耐磨,密封面使用寿命增强;软密封阀座可选PTFE、NBR、EPDM阀座,密封性好,耐腐蚀。 
6、配上双作用或单作用气缸,输入5kg气源,通过电磁换向阀即可控制浆液阀的打开和关闭。
■气动刀闸阀 主要零件材质
| 零件名称 | 材 料 | 
| 气 缸 | 铝合金 | 
| 阀 体 | WCB、CF8、CF8M、CF3、CF3M、2520 | 
| 闸 板 | 2Cr13、304、316、304L、316L、2520 | 
| 密 封 圈 | NBR、EPDM、PTFE、不锈钢合金 | 
| 阀 杆 | 2Cr13、1Cr13不锈钢、304、316 | 
| 填 料 | PTFE、柔性石墨 | 
■气动刀闸阀 主要技术参数
| 公称通径                                  | DN50—DN1200 | ||||
| 公称压力 | PN1.0~1.6(MPa); 150LB; 10K | ||||
| 连接方式 | 对夹、法兰、凸耳 | ||||
| 驱动方式 | 气动 | ||||
| 工作压力 | DN50~DN250:10kg/c㎡                    DN300~DN400:6kg/c㎡  | ||||
| 法兰标准 | GB9113.1-2000;JB/T79.1-1984;HG20592-1997;ASME B 16.5;EN 1092-1:2001 | ||||
| 结构长度 | GB/T15188.2-94; MSS SP 81-2001 | ||||
| 压力-温度额定值 | GB/T12224-2007;ANME B 16.34-2003;ISO7005-1 | ||||
| 试验标准 | 强度及密封试验标准:JB/T9092-1999  | ||||
| 适用温 度 | 阀 座 | NBR≤80℃;EPDM≤120℃;PTFE≤180℃;不锈钢合金≤450-900℃ | |||
| 阀 体 | 碳钢≤425℃;不锈钢、铬钼钢≤600℃;2520不锈钢≤900℃ | ||||
| 适用介质 | 适用于矿山电厂的选煤、排渣、城市污水处理、食品、造纸、医药、石油、化工等油品、水、蒸汽管路上,接通或截断管路中的水泥浆、金矿粉、矿砂、炉渣、煤泥、纸浆、木浆、尾矿、纤维、粉尘、化学品处理污水、沉淀池、沥青、料仓出口、水果汁、谷物、屠宰厂废水等介质。 | ||||
| 可选控制附件 | 电磁换向阀 | AC220V/DC24V | |||
| 单作用 | 二位三通 | ||||
| 双作用 | 二位五通 | 单电控 | |||
| 双电控 | |||||
| 限位开关 | 机械式 | ||||
| 感应式(PNP/NPN;两线制/三线制;常开/常闭;AC/DC) | |||||
| 气源处理三联件 | |||||

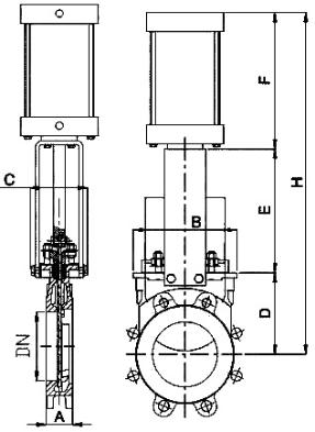
■气动刀闸阀 外形尺寸 单位:mm
| DN | A | B | C | D | E | F | H | 配气缸型号 | 
| 50 | 48 | 130 | 112 | 115 | 158 | 187 | 460 | ¢63*70 | 
| 65 | 48 | 150 | 117 | 115 | 172 | 233 | 520 | ¢63*85 | 
| 80 | 51 | 176 | 117 | 127 | 190 | 253 | 570 | ¢80*110 | 
| 100 | 51 | 192 | 127 | 140 | 210 | 330 | 680 | ¢100*125 | 
| 125 | 57 | 221 | 127 | 160 | 235 | 385 | 780 | ¢100*145 | 
| 150 | 57 | 225 | 131 | 175 | 270 | 405 | 850 | ¢125*170 | 
| 200 | 70 | 283 | 141 | 205 | 320 | 455 | 980 | ¢160*225 | 
| 250 | 70 | 350 | 151 | 245 | 390 | 505 | 1140 | ¢160*280 | 
| 300 | 76 | 402 | 151 | 295 | 443 | 622 | 1360 | ¢160*330 | 
| 350 | 76 | 454 | 160 | 335 | 494 | 646 | 1475 | ¢200*390 | 
| 400 | 89 | 500 | 175 | 392 | 552 | 686 | 1630 | ¢250*430 | 
| 450 | 89 | 564 | 190 | 435 | 585 | 750 | 1770 | ¢250*480 | 
| 500 | 114 | 626 | 210 | 492 | 638 | 800 | 1930 | ¢300*530 | 
| 600 | 114 | 715 | 210 | 682 | 760 | 853 | 2295 | ¢320*630 | 
| 700 | 127 | 832 | 270 | 705 | 925 | 970 | 2600 | |
| 800 | 127 | 925 | 270 | 802 | 1026 | 1082 | 2910 | |
| 900 | 127 | 1056 | 270 | 890 | 1070 | 1240 | 3200 | |
| 1000 | 149 | 1184 | 270 | 1000 | 1170 | 1380 | 3550 | 
■气动刀闸阀 安装示意图
对夹式安装


法兰式安装


凸耳式安装


气动刀闸阀因采用刀型闸板,具有良好的剪切作用,最适宜于浆料、粉粒料、纤维等难以控制的流体,广泛应用于造纸、石化、矿山、排水、食品等行业。

