型号编制说明
| PZ | 9 | 7 | 3 | X | -10 | C | 
| 阀门类型 | 动作方式 | 连接形式 | 阀门结构 | 密封材料 | 公称压力 | 阀体材质 | 
| PZ:刀闸阀 | 9:电动 | 7:对夹 | 3:平行单闸板 | X:EPDM | 10:1.0MPa | C:WCB | 
| 2:电液动 | 4:法兰 | F:PTFE | 16:1.6MPa | P:CF8 | ||
| 5:凸耳 | H:不锈钢合金 | R:CF8M | ||||
| Y:硬质合金 | PL:CF3 | |||||
| W:不锈钢本体 | RL:CF3M | 
■ 电动刀闸阀 概述
电动刀闸阀—又称刀型闸阀、刀型浆液阀。从八十年代进入我国,在不到二十年的时间里,其使用范围从普通领域扩展到了更为广阔的各行各业。从矿山电厂的选煤、排矸、排渣,发展到了城市的污水处理,从一般的工业管道发展到了食品、卫生、医药等专业管道系统。超薄型的电动刀闸阀以其体积小、流阻小、重量轻、易安装、易拆卸等优点彻底解决了普通闸阀、平板闸阀、截止阀、调节阀、蝶阀等类阀门的流阻大、质量大、安装难、占地面积大等得疑难问题。刀闸阀出现后,大量的通用切断类阀门和调节阀门已被之取代。
    我公司的PZ型电动刀闸阀吸取了国内外先进技术和结构优点,排除了其他厂家所产电动刀闸阀在使用中存在的不足,是一种具有轻型、结构简单小巧、密封性能可靠、使用寿命长、具有切断介质等优点,其密封原理是通过闸板在关闭到底时,闸板斜切面碰到阀体上的锲块使得闸板紧靠密封面起到密封效果,并且闸板底部的斜切面具有切断介质的功能,使得阀门不易受介质的堵塞卡阻。其结构可以做成硬密封、软密封,可以根据客户对密封要求选型。
    因采用刀型闸板,具有良好的剪切作用,最适宜于浆料、粉粒料、纤维等难以控制的流体,广泛应用于造纸、石化、矿山、排水、食品等行业。具有多种阀座可供选择,并且可依据现场控制需求,配备电动或气动执行器,实现阀门的自动化操作。
■ 电动刀闸阀 产品特点
1、阀体采用整体式设计,流体阻力小,操作灵活方便。
2、螺杆传动采用双平面轴承设计,使得传动摩擦力大大减小,方便阀门的开启关闭。
3、刀闸阀的密封阀座采用活动式密封,且采用O型圈预紧提供预紧力使密封阀座紧贴阀板,泄漏量大大减少,对在长期使用中密封副的磨损有自动补偿功能,提高阀门的使用寿命。
4、固定导向爪、无凹槽设计,不易引起介质积存和卡阻。
5、阀座可根据介质和工矿的需要,选金属硬密封或软密封:闸板采用表面镀硬铬或离子氮化处理,使闸板更耐磨,密封面使用寿命增强;软密封阀座可选PTFE、NBR、EPDM阀座,密封性好,耐腐蚀。
6、配上DZW型多回转电动执行器或电液动执行器,电源AC380V,即可控制浆液阀的打开和关闭。
■ 电动刀闸阀 主要零件材质
| 零件名称 | 材 料 | 
| 电动执行器 | 铸钢、铝合金 | 
| 阀 体 | WCB、CF8、CF8M、CF3、CF3M、2520 | 
| 闸 板 | 2Cr13、304、316、304L、316L、2520 | 
| 密 封 圈 | NBR、EPDM、PTFE、不锈钢合金 | 
| 阀 杆 | 2Cr13、1Cr13不锈钢、304、316 | 
| 填 料 | PTFE、柔性石墨 | 
■ 电动刀闸阀 主要技术参数
| 公称通径 | DN50—DN1200 | |
| 公称压力 | PN1.0~1.6(MPa); 150LB; 10K | |
| 连接方式 | 对夹、法兰、凸耳 | |
| 驱动方式 | 电动、电液动 | |
| 电 源 | AC380V | |
| 控制方式 | 普通型、一体化控制 | |
| 工作压力 | DN50~DN250:10kg/c㎡                    DN300~DN400:6kg/c㎡ DN450:5kg/c㎡ DN500~DN650:4kg/c㎡ DN700~DN1000:2kg/c㎡ | |
| 法兰标准 | GB9113.1-2000;JB/T79.1-1984;HG20592-1997;ASME B 16.5;EN 1092-1:2001 | |
| 结构长度 | GB/T15188.2-94; MSS SP 81-2001 | |
| 压力-温度额定值 | GB/T12224-2007;ANME B 16.34-2003;ISO7005-1 | |
| 试验标准 | 强度及密封试验标准:JB/T9092-1999 硬密封密封等级:MSS SP 91-2001 40ml/inch 软密封NBR、EPDM、PTFE阀座按硬密封的1/10泄漏量标准进行验收 | |
| 适用温 度 | 阀 座 | NBR≤80℃;EPDM≤120℃;PTFE≤180℃;不锈钢合金≤450-900℃ | 
| 阀 体 | 碳钢≤425℃;不锈钢、铬钼钢≤600℃;2520不锈钢≤900℃ | |
| 适用介质 | 适用于矿山电厂的选煤、排渣、城市污水处理、食品、造纸、医药、石油、化工等油品、水、蒸汽管路上,接通或截断管路中的水泥浆、金矿粉、矿砂、炉渣、煤泥、纸浆、木浆、尾矿、纤维、粉尘、化学品处理污水、沉淀池、沥青、料仓出口、水果汁、谷物、屠宰厂废水等介质。 | |

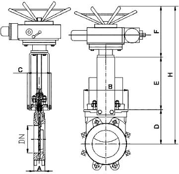
■ 电动刀闸阀 外形尺寸 单位:mm
| DN | A | B | C | D | E | F | H | 配电动执行器 | 
| 50 | 48 | 130 | 112 | 115 | 158 | 327 | 600 | DZW10 | 
| 65 | 48 | 150 | 117 | 115 | 172 | 338 | 625 | DZW10 | 
| 80 | 51 | 176 | 117 | 127 | 190 | 340 | 660 | DZW10 | 
| 100 | 51 | 192 | 127 | 140 | 210 | 340 | 690 | DZW15 | 
| 125 | 57 | 221 | 127 | 160 | 235 | 340 | 735 | DZW15 | 
| 150 | 57 | 225 | 131 | 175 | 270 | 340 | 785 | DZW15 | 
| 200 | 70 | 283 | 141 | 205 | 320 | 380 | 865 | DZW20 | 
| 250 | 70 | 350 | 151 | 245 | 390 | 380 | 1015 | DZW20 | 
| 300 | 76 | 402 | 151 | 295 | 443 | 386 | 1115 | DZW30 | 
| 350 | 76 | 454 | 160 | 335 | 494 | 386 | 1215 | DZW30 | 
| 400 | 89 | 500 | 175 | 392 | 552 | 386 | 1330 | DZW30 | 
| 450 | 89 | 564 | 190 | 435 | 585 | 395 | 1415 | DZW45 | 
| 500 | 114 | 626 | 210 | 492 | 638 | 405 | 1535 | DZW45 | 
| 600 | 114 | 715 | 210 | 682 | 760 | 405 | 1847 | DZW60 | 
| 700 | 127 | 832 | 270 | 705 | 925 | 420 | 2050 | DZW90 | 
| 800 | 127 | 925 | 270 | 802 | 1026 | 462 | 2290 | DZW120 | 
| 900 | 127 | 1056 | 270 | 890 | 1070 | 520 | 2480 | DZW120 | 
| 1000 | 149 | 1184 | 270 | 1000 | 1170 | 530 | 2700 | DZW180 | 
■ 电液动刀闸阀 外形尺寸 单位:mm

| DN | A | B | C | D | E | F | H | 
| 50 | 48 | 130 | 112 | 115 | 158 | 187 | 460 | 
| 65 | 48 | 150 | 117 | 115 | 172 | 233 | 520 | 
| 80 | 51 | 176 | 117 | 127 | 190 | 253 | 570 | 
| 100 | 51 | 192 | 127 | 140 | 210 | 330 | 680 | 
| 125 | 57 | 221 | 127 | 160 | 235 | 385 | 780 | 
| 150 | 57 | 225 | 131 | 175 | 270 | 405 | 850 | 
| 200 | 70 | 283 | 141 | 205 | 320 | 455 | 980 | 
| 250 | 70 | 350 | 151 | 245 | 390 | 505 | 1140 | 
| 300 | 76 | 402 | 151 | 295 | 443 | 622 | 1360 | 
| 350 | 76 | 454 | 160 | 335 | 494 | 646 | 1475 | 
| 400 | 89 | 500 | 175 | 392 | 552 | 686 | 1630 | 
| 450 | 89 | 564 | 190 | 435 | 585 | 750 | 1770 | 
| 500 | 114 | 626 | 210 | 492 | 638 | 800 | 1930 | 
| 600 | 114 | 715 | 210 | 682 | 760 | 853 | 2295 | 
| 700 | 127 | 832 | 270 | 705 | 925 | 970 | 2600 | 
| 800 | 127 | 925 | 270 | 802 | 1026 | 1082 | 2910 | 
■ 电动刀闸阀  安装示意图
对夹式安装


法兰式安装


凸耳式安装


■ 电动刀闸阀  因采用刀型闸板,具有良好的剪切作用,最适宜于浆料、粉粒料、纤维等难以控制的流体,广泛应用于造纸、石化、矿山、排水、食品等行业。

